loading
XLC type cyclone grit chamber sand removal machine
普利斯
| Availability: | |
|---|---|
1. Product features
XLC desander is mainly used in cyclonic grit chambers in urban sewage treatment plants. This equipment uses hydraulic cyclone. It is an ideal sand removal equipment that can effectively separate mud, sand and organic matter.
2. Structure and working principle
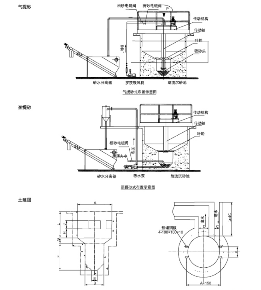
The cyclone grit tank uses a cone-bottom circular tank with a paddle separator in the tank. After the sewage flows in from the tangential direction of the tank, it rotates 270° (clockwise when viewed from above) and is discharged from the discharge channel. It uses a certain flow rate of the incoming water as power to move tangentially along the inner wall of the circular grit tank to form a cyclone. At the same time, it passes through the paddle The blade stirs to make the liquid swirl and axially vortex, thereby accelerating the sedimentation of sand in the sewage and effectively separating organic matter and sand in the water. At the same time, it also uses the principle that the closer to the center, the smaller the cross-section of the water flow, the faster the water flow speed, and the centripetal increase in the water flow speed at the bottom, moving the sand at the bottom of the pool to the central sand hopper in a spiral trajectory. The organic matter rises upward in the center of the pool and is discharged along with the effluent flow. The bottom sand is lifted by the lifting device and enters the sand-water separator for sand-water separation. The sewage then flows back into the grid well.
3. Main technical parameters and installation dimensions table
Parameter model | XLC-1830 | XLC-2130 | XLC-2430 | XLC-3050 | XLC-3650 | XLC-4870 | XLC-5480 | XLC-5800 | XLC-6100 | |
Pool diameterφ(mm) | 1830 | 2130 | 2430 | 3050 | 3650 | 4870 | 5480 | 5800 | 6100 | |
Processing capacity Q(m²/h) | 180 | 360 | 720 | 1080 | 1980 | 3170 | 4750 | 6300 | 7200 | |
paddle separator | Blade diameterφ(mm) | 1000 | 1500 | |||||||
Impeller speed v(r/min) | 12~20 | |||||||||
Motor power N(kw) | 0.75 | 1.1 | 1.5 | |||||||
Blower | Air volume Q1 (m³/min) | 1,43 | 1.79 | 1.75 | 1.75 | 2.03 | 1.98 | 1.98 | 2.01 | 2.01 |
Pressure P1 (Kpa) | 34.3 | 34.3 | 39.2 | 39.2 | 44.1 | 53.9 | 53.9 | 58.8 | 58.8 | |
Power N1(kw) | 1.5 | 2.2 | 3.0 | 40 | ||||||
泵 | Flow Q2(m³/min) | 25 | 30 | 40 | ||||||
Lift h(m) | 2-3 | |||||||||
Power N2(kw) | 2.2 3.0 4.0 | |||||||||
Installation dimensions (mm) | A | 1830 | 2130 | 2430 | 3050 | 3650 | 4870 | 5480 | 5800 | 6100 |
000 | 1500 | |||||||||
c | 305 | 380 | 450 | 610 | 750 | 1000 | 1100 | 1200 | 1200 | |
D | 610 | 760 | 900 | 1200 | 1500 | 2000 | 2200 | 2400 | 2400 | |
300 | 400 | |||||||||
F | 1400 | 1400 | 1550 | 1550 | 1700 | 2200 | 2200 | 2500 | 2500 | |
G | 300 | 300 | 400 | 450 | 600 | 1000 | 1000 | 1300 | 1300 | |
H | 300 | 510 | 610 | 760 | ||||||
300 | 300 | 400 | 450 | 580 | 600 | 630 | 700 | 750 | ||
K | 1000 | |||||||||
L | 1100 | 1100 | 1150 | 1350 | 1450 | 1850 | 1850 | 1950 | 1950 | |
Working bridge concentrated load P (KN) | 30 | |||||||||
Working torque M(Nm) | 600 | 850 | 1195 | |||||||
4. Main features
■There are two methods of sand lifting: gas lifting and pump lifting. The gas lifting treatment effect is relatively good, and the pump lifting cost is relatively low;
■Good use effect. The removal rate of particles above 0.2mm is greater than 85%;
■If the processing capacity is Q<1080m²h, the pool body can be made of steel. If the processing capacity is Q≥1080m²3/h, the pool body is generally made of concrete:
■The system uses PLC to automatically control the sand washing and sand discharge cycles, making the operation safe and reliable.
5. Appearance and installation dimensions diagram

content is empty!